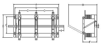
Dahili tip ayırıcılar bina içerisinde hücrelere yerleştirilir. Kumanda kolu emniyetli mesafede hücre dışına çıkartılır. Dahili ayırıcılar 12 – 17,5 – 24 – 36 KV geriliminde ve 630 ve 1250 amper akımlarda kullanılır. Yapıları basit ve standart bileşenlerden oluşur. Şasi, mesnet izolatörleri, hareketli ve sabit kontakları, manuel ve bobinli kol hareket mekanizmaları vardır. Ayırıcı bıçakları profillendirilmiş bakırdan mamuldür. Standart olarak kalay kaplama olup arzu edilirse gümüş kaplamadır.
Ayırıcılar ilave olarak arzu edilirse alttan veya üstten topraklama şalteri ve Durum-Yardımcı-Şalteri ile techizatlandırılır.
DAHİLİ TİP AYIRICI
– 1.36KV 16kA Dahili Sigortalı ve Sigortalı Topraklı Ayırıcılar ( DS – DST )


– 36Kv 16 kA Dahili Normal ve Dahili Topraklı Ayırıcı ( DA – DT )


– Tek Fazlı Dahili Tip Ayırıcı



Özellikleri;
- Ayırıcılar TSE EN 62271-102: 2002 standartları ve TEDAŞ şartnamesine uygun olarak üretilmektedir.
- Ayırıcılar orta gerilim şebekelerinde ve sadece yüksüz devrelerin açılıp kapatılmasında kullanılır.
- 12-17.5 – 36 kV, harici ve toprak ayırıcıları olmak üzere 1250A’e (dahil) kadar çeşitleri bulunmaktadır.
- Ayırıcılar trifaze olup normal, topraklamalı, sigortalı ve sigortalı topraklamalı olmak üzere 4 tiptir.
- Ayırıcılar alttan ve üstten topraklamalı olarak iki şekilde de kullanılabilirler. Ayrıca ana mil ile toprak mili arasında mekanik kilitleme sistemi uygulanabilir.
- Bıçaklarda çift taraflı korunmuş yaylar kullanılarak minimum geçiş direnci sağlanmıştır.
- Ayırıcılar asgari 5 mm. kalınlığında saçtan kıvrılarak hazırlanan U profil ve 60’lık köşebentlerden oluşan ana şaseye sahiptir.
- Elektrolitik bakırdan üretilen bıçak ve kontaklar gümüş kaplamalıdır.
- Izalatörler, haricilerde porselen, dahililerde ise isteğe bağlı olarak porselen veya epoxy-reçine olarak kullanılmaktadır.
- İmalattaki bütün kaynak işlemlerinde gazaltı kaynağı kullanılmaktadır.
- Harici ayırıcı şaseleri daldırma galvaniz, dahililer ise daldırma galvaniz veya isteğe bağlı olarak TEDAŞ şartnamesine uygun boya yapılmaktadır.
- Ayırıcı milleri altıköşe 27 mm. transmisyon çeliğinden yapılır.
- Firmamız ISO 9001-2008 Kalite Sistem Belgesine sahiptir.
